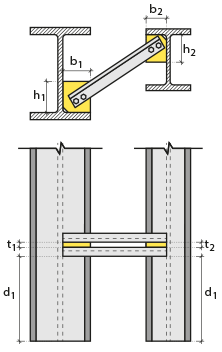
Köşebentli Kayma Birleşimi (Tali Kirişler İçin) Tanımlama
Köşebentli Kayma Birleşimi (Tali Kirişler için) komutu ile kiriş-kiriş veya kiriş-tali kiriş birleşimi tanımlanır.
Karşılıklı çelik kirişleri veya çelik kiriş-tali çelik kirişleri köşebentle birbirine bağlar.

Köşebentli Kayma Birleşimi (Tali Kirişler İçin) Komutunun Yeri
Ribbon menü Birleşim sekmesi Konstrüktif Birleşimler başlığı altından ulaşabilirsiniz.

İşlem Adımları
Birleşim sekmesinden Köşebentli Kayma Birleşimi (Tali Kirişler İçin) satırını tıklayın.
Önce ana kirişi seçin. Sonra ona paralel diğer kirişi veya tali kirişi seçin.
Program başlangıca olan mesafeyi soracaktır. Verilecek değer sol uca olan mesafedir.
Mesafe verilip Tamam tıklanırsa, birleşim varsayılan ayarlarla oluşacaktır.
Köşebentli Kayma Birleşimi (Tali Kirişler İçin) Ayarları Diyaloğunun Yeri
Birleşimi seçip farenin sağ tuşuna tıklayın. Açılan sağ tuş menüden Özellikler satırını tıklayın.

Köşebentli Kayma Birleşimi (Tali Kirişler İçin) Ayarları Diyaloğu
Tip Sekmesi

Özellikler |
|---|
Bağlantı tipi ![]() Mesnet ve tali levhaya için bağlantı tipi seçilir. |
Çapraz tipi ![]() Çaprazların sol da mı sağ da yoksa hem iki tarafta mı olacağı seçilir. |
Bağlantı yönü ![]() Bağlantının üstten mi alttan mı olacağı seçilir. |
Şematik çizim ![]() Birleşim ve yerleşim değerleri şematik çizim üzerinde gösterilir. |
Öngörüntü ![]() Birleşimin öngörüntüsü yer alır. Yapılan seçim ve girilen değerler öngörüntü de eşzamanlı olarak takip edilebilir. |
Levhalar Sekmesi

Özellikler |
|---|
Mesnet levhası ![]() Mesnet levhası değer girilerek belirlenir. Girilecek değerler şematik çizimde gösterilmektedir. |
Tali levha ![]() Tali levhası değer girilerek belirlenir. Girilecek değerler şematik çizimde gösterilmektedir. |
Pozisyon ![]() Teli kirişin yeri değer girilerek belirlenir. Girilecek değerler şematik çizimde gösterilmektedir. |
Şematik çizim ![]() Birleşim ve levha değerleri şematik çizim üzerinde gösterilir. |
Öngörüntü ![]() Birleşimin öngörüntüsü yer alır. Yapılan seçim ve girilen değerler öngörüntü de eşzamanlı olarak takip edilebilir. |
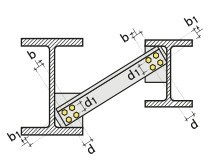
Köşebent Sekmesi

Özellikler |
|---|
Levha geometrisi ![]() Seçenek işaretlenirse köşebent değerler girilerek belirlenir. Girilecek değerler şematik çizimde gösterilmektedir. |
Kesit kullan ![]() Seçenek işaretlenerek hazır L profillerden biri köşebent olarak listeden seçilir. Kesit yükle butonu tıklanarak hazır kesit kütüphanesine ulaşarak Amerikan ve Avrupa hazır hadde kesitlerinin listesine ulaşılır ve listeden seçim yapılır. |
Uzunluk ![]() Kullanılacak köşebent uzunluğu değer girilerek belirlenir. |
Şematik çizim ![]() Birleşim ve levha değerleri şematik çizim üzerinde gösterilir. |
Öngörüntü ![]() Birleşimin öngörüntüsü yer alır. Yapılan seçim ve girilen değerler öngörüntü de eşzamanlı olarak takip edilebilir. |
Kesimler Sekmesi

Özellikler |
|---|
Kesimler (c1) ![]() Levhaların sahada kolay montajı için şev kullanılmasına, şev tipine ve geometrik özellikleri değer girilerek belirlenir. |
Şematik çizim ![]() Birleşim, kertme ve kesim değerleri şematik çizim üzerinde gösterilir. |
Öngörüntü ![]() Birleşimin öngörüntüsü yer alır. Yapılan seçim ve girilen değerler öngörüntü de eşzamanlı olarak takip edilebilir. |
Kaynaklar Sekmesi

Özellikler |
|---|
Kaynaklar ![]() Birleşim yerlerine yapılacak kaynakların kalınlık, tip ve açı değerleri verilir. Şantiyede yapılıp yapılmayacağı bilgisi girilir. |
Kaynak elektrodu ![]() Tasarım girdilerinde kaynak elektrotlarının dayanımları tanımlanır. Kaynak birleşiminde yer alan ana eleman dayanımı, kaynak dayanımından daha az dayanıma sahip olması koşulu kontrol edilir. Kaynak elektrodu oluşturmak için "Yeni Oluştur" tıkladıktan sonra açılan diyalogda "Ad" ve "Dayanım" bilgilerini verin. Kaynak geometrisi program tarafından otomatik belirlenir. Birleşim özelliklerini kolayca belirlemek için bu özellikler değiştirilebilir. Geometri özellikleri endüstri standartlarına uygun ve AISC’ de belirtildiği formdadır. ![]() |
Şematik çizim ![]() Birleşim ve kaynak değerleri şematik çizim üzerinde gösterilir. |
Öngörüntü ![]() Birleşimin öngörüntüsü yer alır. Yapılan seçim ve girilen değerler öngörüntü de eşzamanlı olarak takip edilebilir. |
Birleşim Bulonları Sekmesi

Özellikler |
|---|
Yatay yerleşim ![]() Bulonların yatay yerleşim uzaklık değeri girilir. Girilecek değerler şematik çizimde gösterilmektedir. |
Grup 1 ![]() Bulonları kirişe ve diğer bulonlara uzaklık değerleri girilir. Girilecek değerler şematik çizimde gösterilmektedir. |
Bulon özellikleri ![]() Bulon özellikleri butonu tıklanarak Delik ve Bulon Paramatreleri diyaloğu açılır. Bulon özellikleri bu diyalogdan ayarlanır. |
Şematik çizim ![]() Birleşim ve bulon yerleşim değerleri şematik çizim üzerinde gösterilir. |
Öngörüntü ![]() Birleşimin öngörüntüsü yer alır. Yapılan seçim ve girilen değerler öngörüntü de eşzamanlı olarak takip edilebilir. |
Tasarım Girdileri Sekmesi

Tasarım girdilerinde birleşim elemanları malzemesi tanımlanır.

Gerekirse listeyi tıklayıp "yeni birleşim elemanları malzemesi" tanımlayın. Birleşim elenaları malzemesi oluşturmak için "Yeni Oluştur" tıkladıktan sonra açılan diyalogda "Malzeme tanımı" ve "Malzeme değerleri" bilgilerini verin.
























