Kren Birleşimi Tanımlama
Kren Birleşimi komutu ile kolon-kren kirişi birleşimi tanımlanır.

Kren Birleşimi Komutunun Yeri

İşlem Adımları
Kolonlar arasında kreninizi çizdikten sonra;
Çelik menüsünden Kren Birleşimi satırını tıklayın.
Ana elemanı (kolon) seçin.
Kren kirişlerini seçin.
Birleşim varsayılan ayarlarla oluşacaktır.
Kren Birleşimi Ayarları Diyaloğunun Yeri
Oluşan birleşim seçilip farenin sağ tuşuna tıklayın. Açılan sağ tuş menüden Özellikler satırını tıklayın.

Kren Birleşimi Ayarları Diyaloğu
Tip ve Geometri Sekmesi

Özellikler |
|---|
Tip ![]() Listeden bağlantı tiplerinden biri seçilir. |
Rijitleştirici ![]() Rijitlştirici değerler girilerek belirlenir. Girilecek değerler şematik çizimde gösterilmektedir. |
Şematik çizim ![]() Birleşim ve levha değerleri şematik çizim üzerinde gösterilir. |
Öngörüntü ![]() Birleşimin öngörüntüsü yer alır. Yapılan seçim ve girilen değerler öngörüntü de eşzamanlı olarak takip edilebilir. |
Mesnet Sekmesi

Özellikler |
|---|
Levha geometrisi ![]() Seçenek işaretlenirse köşebent değerler girilerek belirlenir. Girilecek değerler şematik çizimde gösterilmektedir. |
Kesit kullan ![]() Seçenek işaretlenerek hazır profillerden biri listeden seçilir. Kesit yükle butonu tıklanarak hazır kesit kütüphanesine ulaşarak Amerikan ve Avrupa hazır hadde kesitlerinin listesine ulaşılır ve listeden seçim yapılır. |
Uzunluk ![]() Profil uzunluk değeri girilir. |
Şematik çizim ![]() Birleşim ve levha değerleri şematik çizim üzerinde gösterilir. |
Öngörüntü ![]() Birleşimin öngörüntüsü yer alır. Yapılan seçim ve girilen değerler öngörüntü de eşzamanlı olarak takip edilebilir. |
Bağlantı Levhaları Sekmesi

Özellikler |
|---|
Bağlantı levhaları ![]() Bağlantı levhaları değerler girilerek belirlenir. Girilecek değerler şematik çizimde gösterilmektedir. |
Şematik çizim ![]() Birleşim ve yerleşim değerleri şematik çizim üzerinde gösterilir. |
Öngörüntü ![]() Birleşimin öngörüntüsü yer alır. Yapılan seçim ve girilen değerler öngörüntü de eşzamanlı olarak takip edilebilir. |
Berkitme Levhaları Sekmesi

Özellikler |
|---|
Kolon berkitme levhaları ![]() Kolon berkitme levhaları değerler girilerek belirlenir. Girilecek değerler şematik çizimde gösterilmektedir. |
Kren berkitme levhaları ![]() Kren berkitme levhaları değerler girilerek belirlenir. Girilecek değerler şematik çizimde gösterilmektedir. |
Mesnet berkitme levhaları ![]() Mesnet berkitme levhaları değerler girilerek belirlenir. Girilecek değerler şematik çizimde gösterilmektedir. |
Şematik çizim ![]() Birleşim ve levha değerleri şematik çizim üzerinde gösterilir. |
Öngörüntü ![]() Birleşimin öngörüntüsü yer alır. Yapılan seçim ve girilen değerler öngörüntü de eşzamanlı olarak takip edilebilir. |
Kaynaklar Sekmesi

Özellikler |
|---|
Kaynaklar ![]() Birleşim yerlerine yapılacak kaynakların kalınlık, tip ve açı değerleri verilir. Şantiyede yapılıp yapılmayacağı bilgisi girilir. |
Kaynak elektrodu ![]() Tasarım girdilerinde kaynak elektrotlarının dayanımları tanımlanır. Kaynak birleşiminde yer alan ana eleman dayanımı, kaynak dayanımından daha az dayanıma sahip olması koşulu kontrol edilir. Kaynak elektrodu oluşturmak için "Yeni Oluştur" tıkladıktan sonra açılan diyalogda "Ad" ve "Dayanım" bilgilerini verin. Kaynak geometrisi program tarafından otomatik belirlenir. Birleşim özelliklerini kolayca belirlemek için bu özellikler değiştirilebilir. Geometri özellikleri endüstri standartlarına uygun ve AISC’ de belirtildiği formdadır. ![]() |
Şematik çizim ![]() Birleşim ve kaynak değerleri şematik çizim üzerinde gösterilir. |
Öngörüntü ![]() Birleşimin öngörüntüsü yer alır. Yapılan seçim ve girilen değerler öngörüntü de eşzamanlı olarak takip edilebilir. |
Kren Bulonları Sekmesi

Özellikler |
|---|
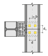
Yatay yerleşim ![]() Bulonların yatay yerleşim uzaklık değeri girilir. Girilecek değerler şematik çizimde gösterilmektedir. |
Grup 1 ![]() Bulonları kirişe ve diğer bulonlara uzaklık değerleri girilir. Girilecek değerler şematik çizimde gösterilmektedir. |
Bulon özellikleri ![]() Bulon özellikleri butonu tıklanarak Delik ve Bulon Paramatreleri diyaloğu açılır. Bulon özellikleri bu diyalogdan ayarlanır. |
Şematik çizim ![]() Birleşim ve bulon yerleşim değerleri şematik çizim üzerinde gösterilir. |
Öngörüntü ![]() Birleşimin öngörüntüsü yer alır. Yapılan seçim ve girilen değerler öngörüntü de eşzamanlı olarak takip edilebilir. |
Tıkaç Sekmesi

Özellikler |
|---|
Kesit kullan ![]() Seçenek işaretlenerek hazır profillerden biri tıkaç olarak listeden seçilir. Kesit yükle butonu tıklanarak hazır kesit kütüphanesine ulaşarak Amerikan ve Avrupa hazır hadde kesitlerinin listesine ulaşılır ve listeden seçim yapılır. |
Uzunluk ![]() Tıkaç için uzunluk değeri girilir. |
Şematik çizim ![]() Birleşim ve levha değerleri şematik çizim üzerinde gösterilir. |
Öngörüntü ![]() Birleşimin öngörüntüsü yer alır. Yapılan seçim ve girilen değerler öngörüntü de eşzamanlı olarak takip edilebilir. |
Pul Sekmesi

Özellikler |
|---|
Kesit kullan ![]() Seçenek işaretlenerek hazır profillerden biri pul olarak listeden seçilir. Kesit yükle butonu tıklanarak hazır kesit kütüphanesine ulaşarak Amerikan ve Avrupa hazır hadde kesitlerinin listesine ulaşılır ve listeden seçim yapılır. |
Uzunluk ![]() Pul için uzunluk değeri girilir. |
Şematik çizim ![]() Birleşim ve levha değerleri şematik çizim üzerinde gösterilir. |
Öngörüntü ![]() Birleşimin öngörüntüsü yer alır. Yapılan seçim ve girilen değerler öngörüntü de eşzamanlı olarak takip edilebilir. |
Birleşim Bulonları Sekmesi

Özellikler |
|---|
Yatay yerleşim ![]() Bulonların yatay yerleşim uzaklık değeri girilir. Girilecek değerler şematik çizimde gösterilmektedir. |
Grup 1 ![]() Bulonları kirişe ve diğer bulonlara uzaklık değerleri girilir. Girilecek değerler şematik çizimde gösterilmektedir. |
Bulon özellikleri ![]() Bulon özellikleri butonu tıklanarak Delik ve Bulon Paramatreleri diyaloğu açılır. Bulon özellikleri bu diyalogdan ayarlanır. |
Şematik çizim ![]() Birleşim ve bulon yerleşim değerleri şematik çizim üzerinde gösterilir. |
Öngörüntü ![]() Birleşimin öngörüntüsü yer alır. Yapılan seçim ve girilen değerler öngörüntü de eşzamanlı olarak takip edilebilir. |
Tasarım Girdileri Sekmesi

Tasarım girdilerinde birleşim elemanları malzemesi tanımlanır.

Gerekirse listeyi tıklayıp "yeni birleşim elemanları malzemesi" tanımlayın. Birleşim elenaları malzemesi oluşturmak için "Yeni Oluştur" tıkladıktan sonra açılan diyalogda "Malzeme tanımı" ve "Malzeme değerleri" bilgilerini verin.
İlgili Konular







































