Makas Birleşimi Tanımlama
Makas Birleşimi komutu ile makas üst, alt başlık ile makas dikme ve çaprazları birleştirilir. Aşıklar tanımlandığında birleşimleri otomatik tanımlanır. Otomatik tanımlanan birleşim silinip yenisi de yapılabilir.

Makas Birleşimi Komutunun Yeri
Ribbon menü Birleşim sekmesi Konstrüktif Birleşimler başlığı altından ulaşabilirsiniz.

İşlem Adımları
Birleşim menüsünden Makas Birleşimi satırını tıklayın.
3 Boyutlu perspektif görüntüden sırasıyla önce makas üst ve/veya alt başlığını ve başlıklarını seçin.
Farenin sağ tuşuna basın ve çaprazları ve/veya dikmeleri seçin.
Birleşim varsayılan ayarlarla oluşacaktır.
Makas Birleşimi Ayarları Diyaloğunun Yeri
Birleşimi seçip farenin sağ tuşuna tıklayın. Açılan sağ tuş menüden Özellikler satırını tıklayın.

Makas Birleşimi Ayarları Diyaloğu
Tip Sekmesi

Özellikler |
|---|
Elemanlara bağlantı ![]() Birleşim için kaynaklı, bulonlu veya karma bağlantı tipi seçilir. |
Bulonlu eleman ![]() Karma seçeneği seçildiğinde aktif olur. Bulınlanacak eleman belirlenir. |
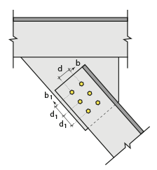
Levha geometrisi ![]() Değer girilerek levha boyutları belirlenir. Girilecek değerler şematik çizimde gösterilmektedir. |
Budama parametreleri ![]() Eleman budama tipi seçenekleri verilmiştir. Ayrıca eleman budama parametreleri değer girilerek belirlenir. Girilecek değerler şematik çizimde gösterilmektedir. dc ayarları yalnızca makas üst bağlantısı içindir. Üst elemanlar arasındaki mesafeyi ayarlar. |
Şematik çizim ![]() Birleşim ve yerleşim değerleri şematik çizim üzerinde gösterilir. |
Öngörüntü ![]() Birleşimin öngörüntüsü yer alır. Yapılan seçim ve girilen değerler öngörüntü de eşzamanlı olarak takip edilebilir. |
Kaynaklar Sekmesi

Özellikler |
|---|
Kaynaklar ![]() Birleşim yerlerine yapılacak kaynakların kalınlık, tip ve açı değerleri verilir. Şantiyede yapılıp yapılmayacağı bilgisi girilir. |
Kaynak elektrodu ![]() Tasarım girdilerinde kaynak elektrotlarının dayanımları tanımlanır. Kaynak birleşiminde yer alan ana eleman dayanımı, kaynak dayanımından daha az dayanıma sahip olması koşulu kontrol edilir. Kaynak elektrodu oluşturmak için "Yeni Oluştur" tıkladıktan sonra açılan diyalogda "Ad" ve "Dayanım" bilgilerini verin. Kaynak geometrisi program tarafından otomatik belirlenir. Birleşim özelliklerini kolayca belirlemek için bu özellikler değiştirilebilir. Geometri özellikleri endüstri standartlarına uygun ve AISC’ de belirtildiği formdadır. ![]() |
Şematik çizim ![]() Birleşim ve kaynak değerleri şematik çizim üzerinde gösterilir. |
Öngörüntü ![]() Birleşimin öngörüntüsü yer alır. Yapılan seçim ve girilen değerler öngörüntü de eşzamanlı olarak takip edilebilir. |
Bulonlar Sekmesi

Özellikler |
|---|
Yatay yerleşim ![]() Bulonların yatay yerleşim uzaklık değeri girilir. Girilecek değerler şematik çizimde gösterilmektedir. |
Grup 1 ![]() Bulonları kirişe ve diğer bulonlara uzaklık değerleri girilir. Girilecek değerler şematik çizimde gösterilmektedir. |
Bulon özellikleri ![]() Bulon özellikleri butonu tıklanarak Delik ve Bulon Paramatreleri diyaloğu açılır. Bulon özellikleri bu diyalogdan ayarlanır. |
Şematik çizim ![]() Birleşim ve bulon yerleşim değerleri şematik çizim üzerinde gösterilir. |
Öngörüntü ![]() Birleşimin öngörüntüsü yer alır. Yapılan seçim ve girilen değerler öngörüntü de eşzamanlı olarak takip edilebilir. |
Başlık Bulonları Sekmesi

Özellikler |
|---|
Dikey yerleşim ![]() Bulonların dikey yerleşim uzaklık değeri girilir. Girilecek değerler şematik çizimde gösterilmektedir. |
Grup 1 ![]() Bulonların makas üst bulonlarına uzaklık değerleri girilir. Girilecek değerler şematik çizimde gösterilmektedir. |
Bulon özellikleri ![]() Bulon özellikleri butonu tıklanarak Delik ve Bulon Paramatreleri diyaloğu açılır. Bulon özellikleri bu diyalogdan ayarlanır. |
Şematik çizim ![]() Birleşim ve bulon yerleşim değerleri şematik çizim üzerinde gösterilir. |
Öngörüntü ![]() Birleşimin öngörüntüsü yer alır. Yapılan seçim ve girilen değerler öngörüntü de eşzamanlı olarak takip edilebilir. |
Tasarım Girdileri Sekmesi

Tasarım girdilerinde birleşim elemanları malzemesi tanımlanır.

Gerekirse listeyi tıklayıp "yeni birleşim elemanları malzemesi" tanımlayın. Birleşim elenaları malzemesi oluşturmak için "Yeni Oluştur" tıkladıktan sonra açılan diyalogda "Malzeme tanımı" ve "Malzeme değerleri" bilgilerini verin.
Sonraki Konu

















