Dairesel Levhalı Boru Profiller İçin Kolon Ayağı Tanımlama
Dairesel Levhalı Boru Profiller için Kolon Ayağı komutu ile çelik kolon-temel birleşimi tanımlanır.

Dairesel Levhalı Boru Profiller İçin Kolon Ayağı Komutunun Yeri
Ribbon menü Birleşim sekmesi Konstrüktif Birleşimler başlığı altından ulaşabilirsiniz.

İşlem Adımları
Hızlı Çizim Modu Açık
Çelik menüsünden Dairesel Levhalı Boru Profiller İçin Kolon Ayağı satırını tıklayın.
3 Boyutlu perspektif görüntüde fare imlecini ilgili elemanın üzerine, mesnete yakın bir bölgeye yaklaştırın
Bu işlemden sonra birleşimin sanal görüntüsü belirecektir.
Birleşim uygun ise farenin sol tuşunu tıklayarak birleşimi oluşturun.
Birleşim varsayılan ayarlarla oluşacaktır.
Hızlı Çizim Modu Kapalı
Çelik menüsünden Dairesel Levhalı Boru Profiller İçin Kolon Ayağı satırını tıklayın.
3 Boyutlu perspektif görüntüden kolonu tıklayın.
Birleşim varsayılan ayarlarla oluşacaktır.
Dairesel Levhalı Boru Profiller İçin Kolon Ayağı Diyaloğunun Yeri
Birleşimi seçip farenin sağ tuşuna tıklayın. Açılan sağ tuş menüden Özellikler satırını tıklayın.

Dairesel Levhalı Boru Profiller İçin Kolon Ayağı Diyaloğu
Nervürler Sekmesi

Özellikler |
|---|
Ana yön için nervür tipi ![]() Ana yöndeki nervür tipi seçeneklerden seçilir. |
Öngörüntü ![]() Birleşimin öngörüntüsü yer alır. Yapılan seçim ve girilen değerler öngörüntü de eşzamanlı olarak takip edilebilir. |
Levhalar ve Grout Sekmesi

Özellikler |
|---|
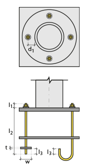
Ana levha ![]() Ana levha değer girilerek belirlenir. Girilecek değerler şematik çizimde gösterilmektedir. |
Lama 1/2 ![]() Lama levhaları değer girilerek belirlenir. Girilecek değerler şematik çizimde gösterilmektedir. |
Grout ![]() Grout için değer girilir. Girilecek değerler şematik çizimde gösterilmektedir. |
Ankraj levhası ![]() Ankraj levhası değer girilerek belirlenir. Girilecek değerler şematik çizimde gösterilmektedir. |
Şematik çizim ![]() Birleşim ve levha değerleri şematik çizim üzerinde gösterilir. |
Öngörüntü ![]() Birleşimin öngörüntüsü yer alır. Yapılan seçim ve girilen değerler öngörüntü de eşzamanlı olarak takip edilebilir. |
Ana Nervürler Sekmesi

Özellikler |
|---|
Nervür levhası ![]() Nervür levhası değer girilerek belirlenir. Girilecek değerler şematik çizimde gösterilmektedir. |
Şematik çizim ![]() Birleşim ve levha değerleri şematik çizim üzerinde gösterilir. |
Öngörüntü ![]() Birleşimin öngörüntüsü yer alır. Yapılan seçim ve girilen değerler öngörüntü de eşzamanlı olarak takip edilebilir. |
Kesimler Sekmesi

Özellikler |
|---|
Kesimler ![]() Levhaların sahada kolay montajı için şev kullanılmasına, şev tipine ve geometrik özellikleri değer girilerek belirlenir. |
Şematik çizim ![]() Birleşim, kertme ve kesim değerleri şematik çizim üzerinde gösterilir. |
Öngörüntü ![]() Birleşimin öngörüntüsü yer alır. Yapılan seçim ve girilen değerler öngörüntü de eşzamanlı olarak takip edilebilir. |
Ankraj Sekmesi

Özellikler |
|---|
Ana yön ![]() Ana yönde yer alan alacak ankraj sayısı ve uzaklık değerşeri girilerek belirlenir. Girilecek değerler şematik çizimde gösterilmektedir. |
Tali yön ![]() Tali yönde yer alan alacak ankraj sayısı ve uzaklık değerşeri girilerek belirlenir. Girilecek değerler şematik çizimde gösterilmektedir. |
Ankrajlar ![]() ![]() Listeden ankraj tipi seçilir. Ankraj boyutları değerler girilerek belirlenir. Girilecek değerler şematik çizimde gösterilmektedir. |
Bulon özellikleri ![]() Bulon özellikleri butonu tıklanarak Delik ve Bulon Paramatreleri diyaloğu açılır. Bulon özellikleri bu diyalogdan ayarlanır. |
Şematik çizim ![]() Birleşim ve levha değerleri şematik çizim üzerinde gösterilir. |
Öngörüntü ![]() Birleşimin öngörüntüsü yer alır. Yapılan seçim ve girilen değerler öngörüntü de eşzamanlı olarak takip edilebilir. |
Kayma Montajı Sekmesi

Özellikler |
|---|
Kayma kaması ![]() Hazır profillerden biri kayma kaması olarak listeden seçilir. Kesit yükle butonu tıklanarak hazır kesit kütüphanesine ulaşarak Amerikan ve Avrupa hazır hadde kesitlerinin listesine ulaşılır ve listeden seçim yapılır. |
Kayma kaması uzunluğu ![]() Kayma kaması uzunluğu girilir. Girilecek değerler şematik çizimde gösterilmektedir. |
Rondela levhası ![]() Rondela levha boyutları değerler girilerek belirlenir. Girilecek değerler şematik çizimde gösterilmektedir. |
Şematik çizim ![]() Birleşim ve levha değerleri şematik çizim üzerinde gösterilir. |
Öngörüntü ![]() Birleşimin öngörüntüsü yer alır. Yapılan seçim ve girilen değerler öngörüntü de eşzamanlı olarak takip edilebilir. |
Kaynaklar Sekmesi

Özellikler |
|---|
Kaynaklar ![]() Birleşim yerlerine yapılacak kaynakların kalınlık, tip ve açı değerleri verilir. Şantiyede yapılıp yapılmayacağı bilgisi girilir. |
Kaynak elektrodu ![]() Tasarım girdilerinde kaynak elektrotlarının dayanımları tanımlanır. Kaynak birleşiminde yer alan ana eleman dayanımı, kaynak dayanımından daha az dayanıma sahip olması koşulu kontrol edilir. Kaynak elektrodu oluşturmak için "Yeni Oluştur" tıkladıktan sonra açılan diyalogda "Ad" ve "Dayanım" bilgilerini verin. Kaynak geometrisi program tarafından otomatik belirlenir. Birleşim özelliklerini kolayca belirlemek için bu özellikler değiştirilebilir. Geometri özellikleri endüstri standartlarına uygun ve AISC’ de belirtildiği formdadır. ![]() |
Şematik çizim ![]() Birleşim ve kaynak değerleri şematik çizim üzerinde gösterilir. |
Öngörüntü ![]() Birleşimin öngörüntüsü yer alır. Yapılan seçim ve girilen değerler öngörüntü de eşzamanlı olarak takip edilebilir. |
Tasarım Girdileri Sekmesi

Tasarım girdilerinde birleşim elemanları malzemesi tanımlanır.

Gerekirse listeyi tıklayıp "yeni birleşim elemanları malzemesi" tanımlayın. Birleşim elenaları malzemesi oluşturmak için "Yeni Oluştur" tıkladıktan sonra açılan diyalogda "Malzeme tanımı" ve "Malzeme değerleri" bilgilerini verin.
Sonraki Konu
























