Eşdeğer Deprem Yükü Yöntemi
SİMGELER
At = Ampirik doğal titreşim periyodu hesabında kullanılan eşdeğer alan [m2]
Awj = j’inci perdenin gövde enkesit alanı [m2]
Ct = Ampirik doğal titreşim periyodu hesabında kullanılan katsayı
Dbi = i’inci katta ek dışmerkezlik büyütme katsayısı
dfi(X) = (X) deprem doğrultusunda binanın hakim doğal titreşim periyodunun hesabında i’inci kata etki ettirilen fiktif yükten oluşan yerdeğiştirme [m]
Ffi(X) = (X) deprem doğrultusunda binanın hakim doğal titreşim periyodunun hesabında i’inci kata etki ettirilen fiktif yük [kN]
FiE(X) = (X) deprem doğrultusunda i’inci kat kütle merkezine etkiyen eşdeğer deprem yükü [kN]
fjE(S) = j’inci sonlu eleman düğüm noktasına etkiyen eşdeğer deprem yükü [kN]
g = Yerçekimi ivmesi [m/s2]
HN = Binanın bodrum katlarının üstündeki üst bölüm’ünün toplam yüksekliği [m]
Hw = Perde yüksekliği [m]
hi = i’inci katın yüksekliği [m]
I = Bina Önem Katsayısı
lwj = Perdenin plandaki boyu [m]
N = Binanın bodrum katlarının üstündeki üst bölüm’deki toplam kat sayısı
SaR(T) = Azaltılmış tasarım spektral ivmesi [g]
SDS = Kısa periyot tasarım spektral ivme katsayısı [boyutsuz]
T = Doğal titreşim periyodu [s]
TpA = Amprik olarak hesaplanan hakim doğal titreşim periyodu [s]
Tp(X) = (X) deprem doğrultusunda binanın hakim doğal titreşim periyodu [s]
∆FNE(X) = (X) deprem doğrultusunda binanın N’inci katına (tepesine) etkiyen ek eşdeğer deprem yükü [kN]
ηbi = i’inci katta burulma düzensizliği katsayısı
Eşdeğer Deprem Yükü Yöntemi, birbirine dik (X) ve (Y) deprem doğrultularında binaya etkiyen depremler için ayrı ayrı uygulanacaktır. Aşağıdaki bağıntılar (X) deprem doğrultusu için verilmiştir. Bodrumlu ve bodrumsuz binalarda bina tabanı ve bina yüksekliği tanımları için 3.3.1 esas alınacaktır.
4.7.1. Toplam Eşdeğer Deprem Yükünün Belirlenmesi
4.7.1.1 – Gözönüne alınan (X) deprem doğrultusunda, binanın tümüne etkiyen toplam eşdeğer deprem yükü (taban kesme kuvveti), VtE(X) , Denk. (4.19) ile belirlenecektir.

Burada SaR (Tp(X)), gözönüne alınan (X) deprem doğrultusunda 4.7.3’e göre hesaplanan binanın hakim doğal titreşim periyodu Tp(X) gözönüne alınarak Denk.(4.8)’den hesaplanan Azaltılmış Tasarım Spektral İvmesi’ni göstermektedir. SDS ise kısa periyot için 2.3.2.2’de tanımlanan tasarım spektral ivme katsayısı’dır.
4.7.1.2 – Denk.(4.19)’daki mt binanın Denk.(4.20) ile hesaplanan toplam kütlesine karşı gelmektedir:

Burada mi i’inci kat döşemesinin toplam kütlesidir.
4.7.2. Katlara Etkiyen Eşdeğer Deprem Yüklerinin Belirlenmesi
4.7.2.1 – Denk.(4.19) ile hesaplanan toplam eşdeğer deprem yükü, bina katlarına etkiyen eşdeğer deprem yüklerinin toplamı olarak Denk.(4.21) ile ifade edilir:

4.7.2.2 – Binanın N’inci katına (tepesine) etkiyen ek eşdeğer deprem yükü ∆FNE(X) ’in değeri Denk.(4.22) ile belirlenecektir.

4.7.2.3 – Toplam eşdeğer deprem yükünün ∆FNE(X) dışında geri kalan kısmı, N’inci kat dahil olmak üzere, bina katlarına Denk.(4.23) ile dağıtılacaktır.

4.7.2.4 – Kat döşemelerinin 4.5.6.4’e göre rijit diyafram olarak modellenmesi durumunda Denk.(4.23) ile hesaplanan FiE(X) eşdeğer deprem yükü, i’inci kattaki ana düğüm noktası’na gözönüne alınan deprem doğrultusunda etki ettirilecektir.
4.7.2.5 – Kat döşemelerinin 4.5.6.2’ye göre levha (membran) sonlu elemanlar ile modellenmesi durumunda, i’nci katta j’inci düğüm noktasına etkiyen eşdeğer deprem yükü Denk.(4.24) ile hesaplanacaktır:

Burada m(jS) , j’inci düğüm noktasının Denk.(4.16) ile tanımlanan tekil kütlesidir.
4.7.2.6 – Deprem yüklerinden binanın tabanında meydana gelen toplam devrilme momenti Denk.(4.25) ile hesaplanır:

4.7.3. Binanın Hakim Doğal Titreşim Periyodunun Belirlenmesi
4.7.3.1 – Eşdeğer Deprem Yükü Yöntemi’nin uygulandığı tüm binalarda Denk.(4.19)’da yer alan ve gözönüne alınan (X) deprem doğrultusunda binanın hakim doğal titreşim periyodunu ifade eden Tp(X) , daha kesin bir hesap yapılmadıkça, Denk.(4.26) ile hesaplanacaktır.

Burada i’inci kata etkiyen fiktif yükü gösteren Ffi(X) , Denk.(4.23)’te (VtE(X) − ∆FNE(X)) yerine herhangi bir değer (örneğin 100) konularak elde edilecektir.
4.7.3.2 – Binanın Denk.(4.26) ile hesaplanan hakim doğal titreşim periyodu Tp(X) ’in deprem hesabında gözönüne alınacak en büyük değeri, 4.7.3.4’te verilen TpA periyodunun 1.4 katından daha fazla olmayacaktır.
4.7.3.3 – DTS = 1, 1a, 2, 2a ve BYS ≥ 6 olan binalarda ve DTS = 3, 3a, 4, 4a olan tüm binalarda hakim doğal titreşim periyodu, 4.7.3.1’den hesaplanmaksızın, doğrudan 4.7.3.4’te verilen ampirik TpA periyodu olarak alınabilir (Tp(X) ≅ TpA ).
4.7.3.4 – Ampirik hakim doğal titreşim periyodu Denk.(4.27) ile hesaplanacaktır:

(a) Taşıyıcı sistemi sadece betonarme çerçevelerden oluşan binalarda Ct = 0.1, çelik çerçevelerden veya çaprazlı çelik çerçevelerden oluşan binalarda Ct = 0.08, diğer tüm binalarda Ct = 0.07 alınacaktır.
(b) Deprem etkilerinin tamamının betonarme perdeler tarafından karşılandığı binalarda Ct katsayısı Denk.(4.28a) ile hesaplanacaktır:

Bu bağıntıdaki At eşdeğer alanı Denk.(4.28b)’de verilmiştir:

4.7.4. Eşdeğer Deprem Yükü Yönteminde Burulma Hesabı
Binanın herhangi bir i’inci katında Tablo 3.6’da tanımlanan A1 türü düzensizliğin bulunması durumunda, 1.2 < ηbi ≤ 2.0 olmak koşulu ile, 4.5.10.2’ye göre bu katta uygulanan ±%5 ek dışmerkezlik, her iki deprem doğrultusu için Denk.(4.29)’da verilen Dbi katsayısı ile çarpılarak büyütülecektir.

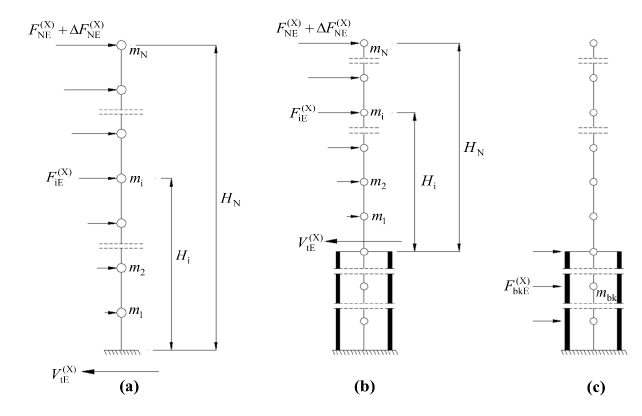
4.7.5. Eşdeğer Deprem Yükü Yöntemi ile Bodrumlu Binaların Hesabı
3.3.1’de verilen tanıma göre, dıştan rijit perdelerle çevrelenen bodrumların bulunduğu binalarda, binanın üst bölümü ve bodrumlu alt bölümü birarada ortak tek bir taşıyıcı sistem olarak modellenecektir. Bu tür binaların deprem hesabında aşağıda belirtilen iki yöntemden biri kullanılabilir:
(a) 4.3.6.1’de açıklanan hesap yöntemi,
(b) 4.7.5.1, 4.7.5.2 ve 4.7.5.3’te açıklanan iki yükleme durumlu hesap yöntemi

4.7.5.1 – Bodrumlu binalarda, yatay rijitlik bakımından üst bölüm ile göreceli olarak çok rijit olan alt bölüm (bodrum katları), dinamik davranış ve dayanım açılarından da çok farklı özelliklere sahiptir. Bu tür binaların modal hesap yöntemleri ile doğrusal deprem hesabı için uygulanabilen yaklaşık iki yükleme durumlu hesap yaklaşımı’nda, binanın üst bölümü ve bodrumlu alt bölümü birarada tek bir taşıyıcı sistem olarak modellenir, ancak üst bölüm ile alt bölüm’ün birbirlerine çok uzak modlarda titreşmeleri nedeni ile deprem hesabı iki yükleme durumu olarak ayrı ayrı yapılır:
4.7.5.2 – İlk yükleme durumunda ortak tek taşıyıcı sistem modelinde 4.7.2.3 veya 4.7.2.5’e göre hesaplanan eşdeğer deprem yükleri sadece üst bölüm’e etki ettirilir (Şekil 4.2b). Hesapta üst bölüm için Tablo (4.1)’den seçilen Rüst ve Düst katsayıları ve deprem doğrultusundaki Tp(X) hakim titreşim periyoduna göre Denk.(4.1)’den hesaplanan deprem yükü azaltma katsayısı
(Ra üst) kullanılacaktır. Birinci yükleme durumu için yapılan hesap sonucunda, hem üst bölüm’de, hem de alt bölüm’de azaltılmış iç kuvvetler elde edilir.
4.7.5.3 – İkinci yükleme durumunda, yine ortak tek taşıyıcı sistem modelinde sadece alt bölüm’deki bodrum katlarının kütleleri, Denk.(4.8)’de T=0 konularak elde edilen azaltılmış spektral ivme SaR (0) ile çarpılarak bu katlara etkiyen yaklaşık eşdeğer deprem yükleri hesaplanır (Şekil 4.2c). Hesapta alt bölüm (bodrum) için Denk.(4.1)’den hesaplanan deprem yükü azaltma katsayısı (Ra )alt = Dalt =1.5 kullanılacaktır. İkinci yükleme durumu için yapılan hesap sonucunda, alt bölüm’deki azaltılmış iç kuvvetler elde edilir.
4.7.5.4 – Bodrumlu binalarda tasarıma esas iç kuvvetler 4.10.1’de tanımlanmıştır.