Rijitleştirilmiş Alın Levhalı 4 Bulonlu Birleşim Tanımlama
Rijitleştirilmiş Alın Levhalı 4 Bulonlu Birleşim komutu ile kolon-kiriş birleşimi tanımlanır.

Rijitleştirilmiş Alın Levhalı 4 Bulonlu Birleşim Komutunun Yeri
Ribbon menü Birleşim sekmesi Birleşim başlığı altından ulaşabilirsiniz.

İşlem Adımları
Hızlı Çizim Modu Açık
Çelik menüsünden Rijitleştirilmemiş Alın Levhalı 4 Bulonlu Birleşim satırını tıklayın.
3 Boyutlu perspektif görüntüde fare imlecini ilgili elemanın üzerine, mesnete yakın bir bölgeye yaklaştırın
Bu işlemden sonra birleşimin sanal görüntüsü belirecektir.
Birleşim uygun ise farenin sol tuşunu tıklayarak birleşimi oluşturun.
Birleşim varsayılan ayarlarla oluşacaktır.
Hızlı Çizim Modu Kapalı
Çelik menüsünden Rijitleştirilmemiş Alın Levhalı 4 Bulonlu Birleşim satırını tıklayın.
3 Boyutlu perspektif görüntüden önce kolonu sonra kirişi tıklayın.
Rijitleştirilmemiş alın levhalı 4 bulonlu birleşim ayarları diyaloğu açılacaktır.
İstenilen ayarlar yapılıp Tamam butonu tıklandığında birleşim oluşacaktır.
Rijitleştirilmiş Alın Levhalı 4 Bulonlu Birleşim Ayarları Diyaloğunun Yeri
Hızlı çizim modu kapalı ise birleşim ayarları otomatik açılacaktır.
Hızlı çizim modu açık ise oluşan birleşim seçilip farenin sağ tuşuna tıklayın. Açılan sağ tuş menüden Özellikler satırını tıklayın.

Rijitleştirilmiş Alın Levhalı 4 Bulonlu Birleşim Ayarları Diyaloğu
Tip ve Alın Levhaları Sekmesi

Özellikler |
|---|
Alın levhası ![]() Alın levhası değerler girilerek belirlenir. Girilecek değerler şematik çizimde gösterilmektedir. |
Şematik çizim ![]() Birleşim ve levha değerleri şematik çizim üzerinde gösterilir. |
Öngörüntü ![]() Birleşimin öngörüntüsü yer alır. Yapılan seçim ve girilen değerler öngörüntü de eşzamanlı olarak takip edilebilir. |
Rijitleştiriciler Sekmesi

Özellikler |
|---|
Rijitleştiriciler ![]() Rijitleştiriciler değerler girilerek belirlenir. Girilecek değerler şematik çizimde gösterilmektedir. |
Şematik çizim ![]() Birleşim ve levha değerleri şematik çizim üzerinde gösterilir. |
Öngörüntü ![]() Birleşimin öngörüntüsü yer alır. Yapılan seçim ve girilen değerler öngörüntü de eşzamanlı olarak takip edilebilir. |
Bulonlar Sekmesi

Özellikler |
|---|
Yatay yerleşim ![]() Bulonların yatay yerleşim uzaklık değeri girilir. Girilecek değerler şematik çizimde gösterilmektedir. |
Grup 1 ![]() Bulonları kirişe uzaklık değeri girilir. Girilecek değerler şematik çizimde gösterilmektedir. |
Grup 2 ![]() Bulonları kirişe uzaklık değeri girilir. Girilecek değerler şematik çizimde gösterilmektedir. |
Grup 3 ![]() Bulonları kirişe uzaklık değeri girilir. Girilecek değerler şematik çizimde gösterilmektedir. |
Bulon özellikleri ![]() Bulon özellikleri butonu tıklanarak Delik ve Bulon Paramatreleri diyaloğu açılır. Bulon özellikleri bu diyalogdan ayarlanır. |
Şematik çizim ![]() Birleşim ve bulon yerleşim değerleri şematik çizim üzerinde gösterilir. |
Öngörüntü ![]() Birleşimin öngörüntüsü yer alır. Yapılan seçim ve girilen değerler öngörüntü de eşzamanlı olarak takip edilebilir. |
Berkitme Levhaları Sekmesi

Özellikler |
|---|
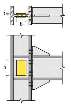
Süreklilik levhası ![]() Süreklilik levhalarının kullanım amacı kolon-kiriş birleşim bölgelerinde kolon başlıklarının desteklenmesi ve kiriş başlığı devamlılığının sağlanmasıdır. Süreklilik levhaları kolon başlığının eğilmesi ve kolon gövde akması/buruşmasının önlenmesi için takviye amaçlı kullanılır. Süreklilik levhası yapılacaksa seçenek işaretlenir. Süreklilik levhası değerler girilerek belirlenir. Girilecek değerler şematik çizimde gösterilmektedir. |
Şematik çizim ![]() Birleşim ve levha değerleri şematik çizim üzerinde gösterilir. |
Öngörüntü ![]() Birleşimin öngörüntüsü yer alır. Yapılan seçim ve girilen değerler öngörüntü de eşzamanlı olarak takip edilebilir. |
İlave Levhalar Sekmesi

Özellikler |
|---|
Gövde takviye levhası ![]() Kolon gövde kalınlığı yetersizse panel bölgesi kesme etkisini karşılamak için takviye levhalar kullanılmaktadır. Gövde takviye levhası yapılacaksa seçenek işaretlenir. Gövde takviye levhası değerler girilerek belirlenir. Girilecek değerler şematik çizimde gösterilmektedir. |
Şematik çizim ![]() Birleşim ve levha değerleri şematik çizim üzerinde gösterilir. |
Öngörüntü ![]() Birleşimin öngörüntüsü yer alır. Yapılan seçim ve girilen değerler öngörüntü de eşzamanlı olarak takip edilebilir. |
Kesimler Sekmesi

Özellikler |
|---|
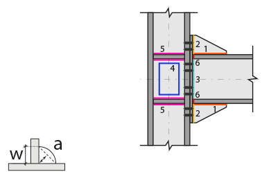
Kesimler ![]() Levhaların sahada kolay montajı için şev kullanılmasına, şev tipine ve geometrik özellikleri değer girilerek belirlenir. |
Şematik çizim ![]() Birleşim, kertme ve kesim değerleri şematik çizim üzerinde gösterilir. |
Öngörüntü ![]() Birleşimin öngörüntüsü yer alır. Yapılan seçim ve girilen değerler öngörüntü de eşzamanlı olarak takip edilebilir. |
Kaynaklar Sekmesi

Özellikler |
|---|
Kaynaklar ![]() Birleşim yerlerine yapılacak kaynakların kalınlık, tip ve açı değerleri verilir. Şantiyede yapılıp yapılmayacağı bilgisi girilir. |
Kaynak elektrodu ![]() Tasarım girdilerinde kaynak elektrotlarının dayanımları tanımlanır. Kaynak birleşiminde yer alan ana eleman dayanımı, kaynak dayanımından daha az dayanıma sahip olması koşulu kontrol edilir. Kaynak elektrodu oluşturmak için "Yeni Oluştur" tıkladıktan sonra açılan diyalogda "Ad" ve "Dayanım" bilgilerini verin. Kaynak geometrisi program tarafından otomatik belirlenir. Birleşim özelliklerini kolayca belirlemek için bu özellikler değiştirilebilir. Geometri özellikleri endüstri standartlarına uygun ve AISC’ de belirtildiği formdadır. ![]() |
Şematik çizim ![]() Birleşim ve kaynak değerleri şematik çizim üzerinde gösterilir. |
Öngörüntü ![]() Birleşimin öngörüntüsü yer alır. Yapılan seçim ve girilen değerler öngörüntü de eşzamanlı olarak takip edilebilir. |
Tasarım Girdileri Sekmesi

Tasarım girdilerinde levha malzemesi tanımlanır.

Gerekirse listeyi tıklayıp "yeni levha malzemesi" tanımlayın. Levha malzemesi oluşturmak için "Yeni Oluştur" tıkladıktan sonra açılan diyalogda "Malzeme tanımı" ve "Malzeme değerleri" bilgilerini verin.




















