Tek Eğimli Çatılar - Dış Basınç Katsayıları
Tek eğimli çatıların basınç katsayıları otomatik hesaplanır.
Simgeler
b = Yapının genişliği
e = Kenar mesafesi
cpe,10 = Dış basınç katsayısı
h = Yapı yüksekliği
qb = Esas hız kaynaklı rüzgâr basıncı
qp(ze) = Tepe rüzgar basıncı
ze = Referans yükseklik
we = Dış yüzeylere etkiyen rüzgar basıncı
θ = Rüzgar yönü
Dış yüzeylere etkiyen rüzgar basıncı, we aşağıdaki denklem kullanılarak hesaplanır. Basınç katsayıları cpe her bir bölge için ayrı ayrı tespit edilmelidir.
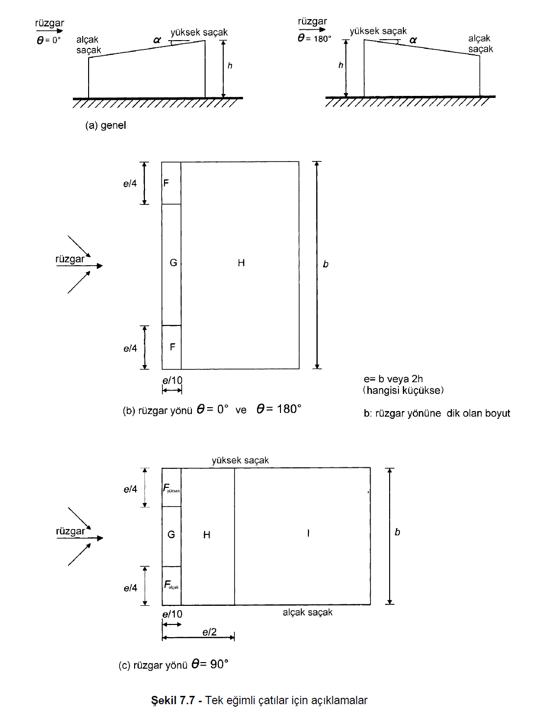
Tek eğimli çatılar aşağıdaki şekilde gösterildiği gibi bölgelere ayrılır. Her bir bölge için dış basınç katsayıları cpe tanımlanır. Dış basınç katsayılarının belirlendiği bölgeler TS EN 1991-1-4 Şekil 7.7 'de gösterilmiştir. Bölgelere etkiyen rüzgar yüklerini belirlemek için kullanılan basınç katsayıları TS EN 1991-1-4 Çizelge 7.3a ve Çizelge 7.3b 'de gösterilmiştir.

Basınç katsayılarının değerleri TS EN 1991-1-4 Çizelge 7.3a ve Çizelge 7.3b 'de belirtilmiştir.

ideCAD Statik 'de tek eğimli çatılar otomatik olarak bölgelere ayrılır ve rüzgar basınçları etkitilir.
