Zımbalama Kontrolü Örnek 2
Örnek hesapta boyutları 100x50 olan bir kolon için zımbalama hesabı yapılacaktır. Diğer parametreler aşağıdaki gibi sıralanmaktadır.
Döşeme kalınlığı: 27 cm
Döşeme paspayı: 3 cm
Malzeme: C35/S420
fctd = 1380.42 kN/m2 (Beton tasarım çekme dayanımı)
Döşeme faydalı yüksekliği, d, hesabı;
d = (Döşeme kalınlığı - Döşeme paspayı) = 27 - 3 = 24 cm
Kolon boyutları
c1 = 100 cm c2 = 50 cm
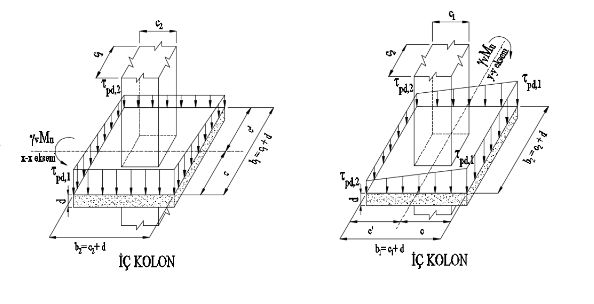
Zımbalama çevresi (up), kolon yüzeyinden d/2 mesafede hesaplanmaktadır ve aşağıdaki resimde gösterilmektedir. Bu durumda zımbalama çevresinin kenarlarını (b1 , b2) bulmak için aşağıdaki işlemler yapılır.

Bu durumda zımbalama çevresi, (up) , ve zımbalama çevresinin döşeme faydalı yüksekliği, d, ile çarpılması ile elde edilen zımbalama alanı (Az) aşağıda gösterildiği gibi hesaplanır.
Aşağıda çizilen kayma gerilmeleri, döşeme düzlemine dik zımbalama gerilmeleridir.

J değerleri, zımbalama alanını (Az) oluşturan yüzeylerin polar atalet ve ikinci atalet momentlerinin toplamıdır. Bu değer TBDY Denklem 7.28 'e göre γf katsayısı gözönüne alınan yükleme doğrultusuna göre hesaplanır.
Kuvvetli Eksen ( Major Yön ) İçin J ve γf Katsayısı Hesabı
γf(maj) ve γv(maj) katsayıları aşağıdaki gibi hesaplanır.
J(maj) değerini bulmak için aşağıdaki işlemler yapılır.
c(maj) , kesitin kuvvetli eksenindeki J değeri ( J(maj) ) bulunurken ele alınan ve moment vektörüne dik ağırlık merkezi mesafesidir. Zımbalama çevresi dikdörtgen olduğundan c(maj) değeri aşağıdaki gibi hesaplanır.
Polar atalet ve ikinci atalet momentleri sırasıyla aşağıdaki gibi hesaplanır.
Bu durumda kesitin kuvvetli (major) eksenine göre olan polar atalet ve ikinci atalet momentlerinin toplamı J(maj) aşağıdaki gibi bulunmaktadır.
Zayıf Eksen ( Minor Yön ) İçin J ve γf Katsayısı Hesabı
γf(min) ve γv(min) katsayısı hesabı için aşağıdaki adımlar izlenir.
J(min) değeri aşağıdaki gibi bulunur.
c(min) değeri, kesitin zayıf eksenindeki J değeri ( J(min) ) bulunurken ele alınan ve moment vektörüne dik ağırlık merkezi mesafesidir. Zımbalama çevresi dikdörtgen olduğundan;
Bu durumda polar atalet ve ikini atalet momentleri sırasıyla aşağıdaki gibi bulunur.
Bu durumda kesitin zayıf (minor) eksenine göre olan polar atalet ve ikinci atalet momentlerinin toplamı J(min) aşağıdaki gibi bulunmaktadır.
Zımbalama Gerilmelerinin Bulunması
Zımbalama gerilmeleri için ele alınacak kuvvetler ve geometriden elde edilen değerler aşağıda verilmiştir.
Vd = 679.31 kN
DMd(maj) = 394.624 kNm
DMd(min) = 65.3914 kNm
Az = 0.9504 m2
γf(maj) = 0.537
γv(maj) = 0.463
γf(min) = 0.660
γv(min) = 0.340
J(maj) =0.2156608 m4
J(min) = = 0.0993968 m4 ,
c(maj) = 0.62 m
c(min) = 0.37 m
c'(maj) = 0.62 m
c'(min) = 0.37 m
Yukarıda bulunan tüm değerler, zımbalama tasarımına esas iç kuvvetler ile birlikte gerilme formüllerinde yerine konularak zımbalama gerilmeleri bulunur.
τpd,1 , τpd,2 değerlerinden mutlak değerce en büyük olan τpd,1 = 1322.795 kN/m2 değeridir. Elde edilen bu değer, beton tasarım çekme dayanımı olan fctd değeri ile karşılaştırılır.
τpd,1 = 1322.795 kN/m2 < fctd = 1380.42 kN/m2
Döşeme zımbalama dayanımı yeterlidir. Rapor sonuçları ile de bu değerler karşılaştırılabilir.
Sonraki Konu