Kolon Boyuna Donatı Kontrolleri
Kolonlarda boyuna donatı koşulları otomatik kontrol edilir ve donatı düzeni otomatik yapılır.
Kolonlarda boyuna donatı alanı, brüt kesitin %1’inden az, %4’ünden daha büyük olmayacaktır koşulu otomatik kontrol edilir ve uygulanır.
Kolonlarda ϕ14 den daha ince ve dairesel kolonlarda 6 adetten daha az donatı kullanılmayacaktır koşulu otomatik uygulanır.
Bindirmeli ek yapılan kesitlerde toplam boyuna donatı oranı %6’yı geçmeyecektir koşulu otomatik uygulanır.
SİMGELER
Ac = Kolonun brüt enkesit alanı
As = Kolonun boyuna donatı alanı
ϕ = Donatı çapı
Kolon donatı hesabında kullanılan hesap tesirleri (Mxd, Myd, Nd ) deprem, düşey, varsa rüzgar ve toprak yüklemelerinin kombinasyonundan bulunur. Her bir yükleme için kolonun aynı katta üst düğüm noktasında ve ve bir üst katın alt düğüm noktasından kolon donatı hesabı yapılır. Mevcut kat ve üst katın ortak mesneti itibariyle her bir kombinasyondan bulunan en büyük donatı alanı o kat kolonun donatı miktarıdır. Aynı işlem tüm katlarda uygulanır.
Donatı seçimi şematik olarak gösterilmiştir. As1, As2 , As3, As4 ve As6 kolonun üst ve alt düğüm noktalarında her bir kombinasyondan bulunan en büyük donatı alanlarını ifade etmektedir.

7.3.2.1 maddesi göz önüne alınarak, kolon boyuna donatı alanı, brüt kesitin %1’den az olmasına izin verilmez.
7.3.2.2’ maddesinde belirtilen toplam boyuna donatı %6’yı aşılmaması koşulu, her bir kolonun kendisi için, değerin yarısı(%3) kabul edilerek, toplamda %6 olacak şekilde kontrol yapılır. Boyuna donatı oranı %3 aşıldığında kolon boyutlarının attırılması talep edilir.
Her bir kolon için:
As >= 0.01 Ac
As <= 0.03 Ac
Kolonlarda ϕ14 den daha ince ve dairesel kolonlarda 6 adetten daha az donatı kullanılmaz.
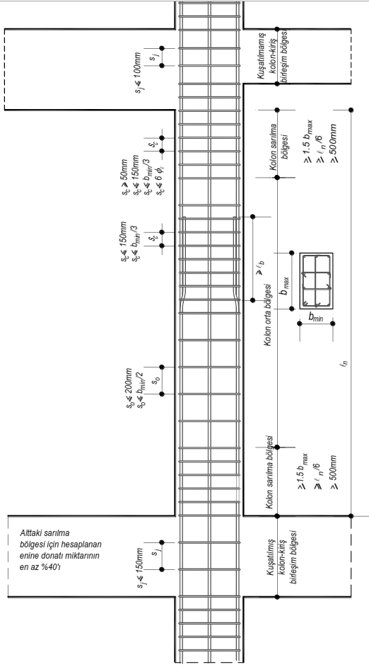
Kolon ekleri göreli daha az zorlanan, kolon orta bölgesinde yapılır.
Kolon boyuna donatıları için detay çizimlerinde dikkate alınan esaslar:

Kattan kata kolon kesitinin değişmesi sebebiyle üst kat kolonu içinde kenetlenemeyen donatıların detayları hazırlanırken (TBDY, Şekil 7.2)'de verilen koşullar uygulanır.

Sonraki Konu