Eksenel Çekme Kuvveti Etkisindeki Makas Elemanlarının Tasarımı
Simgeler
Ag : Kayıpsız enkesit alanı
Ae : Etkin net enkesit alanı
An : Net enkesit alanı
Agv : Kayma gerilmesi etkisindeki kayıpsız alan
Anv : Kayma gerilmesi etkisindeki net alan
Ant : Çekme gerilmesi etkisindeki net alan
Fy : Yapısal çelik karakteristik akma gerilmesi
Fu : Yapısal çelik karakteristik çekme dayanımı
K : Burkulma boyu katsayısı
L : Desteklenen noktalar arasında kalan eleman uzunluğu
i : Atalet yarıçapı
U : Gerilme düzensizliği etki katsayısı
Ubs : Çekme gerilmeleri yayılışını göz önüne alan bir katsayı
Tn : Tasarım çekme kuvveti dayanımı
Çekme Etkisinde Elemanlarda Dayanım
Eksenel çekme etkisindeki elemanların bulonlu birleşimler ile birlikte kullanılması halinde, bulon deliklerinin yer aldığı bölgelerde akma gerilmesine daha önce ulaşılacaktır. Bu durum ise yük – yer değiştirme eğrisi kullanılarak, doğrusal elastik kabulü ile yapılan dayanım hesaplarını etkileyecektir.

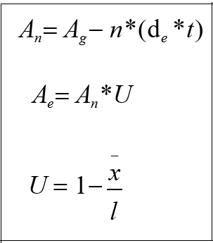
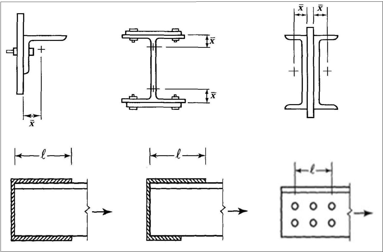
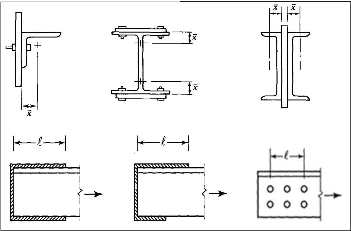
Çekme elemanlarının bulonlu ve kaynaklı birleşimlerinde, yükün üniform dağılmaması neticesinde, yük transferinde çalışan enkesit alanı, tüm enkesit alanına eşit değildir.
Özellikle çaprazlarda kullanılan L ve U kesitlerin, tamamının bulon veya kaynak ile bağlanmaması nedeniyle yük transferinde etkili alan olarak adlandırılan belirli bir bölge çalışır. ‘Shear Lag ‘ etkisi olarak isimlendirilen bu fenomen nedeniyle çekme elemanlarının tasarımında etkili net alan kullanılır.

Çekme elemanlarında dayanım hesabında 3 farklı alan kullanılır:
Kayıpsız Alan ( Ag)
Net Alan (An)
Etkili Net Alan (Ae)


ÇYTHYE 2018 ile Tasarım
Çekme kuvveti etkisindeki elemanlarda 3 farklı göçme koşulu vardır: Akma Sınır Durumu, Kırılma Sınır Durumu ve Blok Kırılma Sınır Durumu
Tasarım çekme dayanımı, eksenel çekme kuvveti etkisindeki elemanın, akma sınır durumu, kırılma sınır durumu ve blok kırılma sınır durumlarına göre hesaplanacak dayanımların en küçüğü olarak alınır. Çekme elemanlarının uç birleşimlerinde kullanılan blok kırılma sınır durumu ÇYTHYE 2018 Bölüm 13.4.3' te yer almaktadır. Blok kırılma sınır durumu birleşimler için ek kontroldür.
Çekme elemanı narinliği kontrol edilmelidir. Yönetmeliğin 7.1.1 maddesi gereği narinlik oranı 300’ den küçük olmalıdır.

Akma Sınır Durumu
Çekme elemanlarında akma sınır durumu için karakteristik çekme kuvveti dayanımı, Tn kayıpsız enkesit alanı kullanılarak denklem 7.2 ile hesaplanır.

Kırılma Sınır Durumu
Çekme elemanlarında kırılma sınır durumu için karakteristik çekme kuvveti dayanımı, Tn, etkin net enkesit alanı kullanılarak denklem 7.3 ile hesaplanır.

Blok Kırılma Sınır Durumu
Karakteristik blok kırılma dayanımı, Rn kesme yüzeyi veya yüzeyleri boyunca akma ve kırılma sınır durumları ile dik çekme yüzeyi boyunca kopma sınır durumları esas alınarak, denklem 13.19 ile hesaplanmaktadır.


İlgili Konular