Cephe İskeleleri için Rüzgar Etkileri TS EN 1991-1-4
Rüzgar Parametreleri
Temel Rüzgar Hızı: Yıllık aşılma olasılığı 0.02 olan, açık kırsal arazide 10 m yükseklikte ölçülen ve yükseklik tesirlerinin hesaba katıldığı, rüzgar yönüne bağlı olmayan 10 dakikalık ortalama rüzgar hızı.
Esas Rüzgar Hızı: Dikkate alınan rüzgarın yönünü ve mevsimleri hesaba katmak için değiştirilmiş esas rüzgar hızı.
Ortalama Rüzgar Hızı: Arazi engebeliliği ve orografik tesirleri hesaba katmak için değiştirilmiş esas rüzgar hızı.
Basınç Katsayısı: Yapının dış veya iç yüzeyine etki eden rüzgar tesirlerinin elde edilmesi için kullanılan katsayı.
Kuvvet Katsayısı: Sürtünmeleri de kapsayacak şekilde bir yapının, yapısal elemanın veya bileşenin bütününe etki eden toplam rüzgar tesirini verir.
Hesap İşlemleri: Yönetmelik Çizelge 5.1 de rüzgar etkilerinin belirlenmesi için hesap adımları özetlenmiştir.

Çizelge 5.1
Esas Rüzgar Hızı: Esas rüzgar hızının temel değeri olan vb,0 yılın herhangi bir bölümünden ve rüzgar yönünden bağımsız olarak, çayır gibi az bir bitki örtüsünde ve aralarında en az engel yüksekliğinin 20 katı kadar mesafede bulunan engellere sahip açık kırsak alanda yer seviyesinden 10 metre yukarıdaki karakteristik 10 dakikalık ortalama rüzgar hızıdır.
Burada;
vb Arazi kategorisi II’de yer seviyesinden 10 metre yükseklikte yılın herhangi bir bölümünün ve rüzgar yönünün bir fonksiyonu olarak tanımlanan esas rüzgar hızı,
vb,0 Esas rüzgar hızının temel değeri (paragraf (1) P),
cdir Doğrultu katsayısı (Not 2),
cseason Mevsim katsayısı (Not 3) dır.
Not 1 - Belirtilen temel değer vb,0 içerisinde rakımın esas rüzgar hızı vb’ye olan etkisinin dahil edilmediği
durumlarda, Milli Ek’te bu etkinin nasıl dikkate alınacağına ilişkin bir işlem verilebilir.
Not 2 - Farklı rüzgar yönleri için doğrultu katsayısı cdir değeri Milli Ek’te bulunabilir. Tavsiye edilen değer
1,0’dır.
Not 3 - Mevsim katsayısı cseason değeri Milli Ek’te verilebilir. Tavsiye edilen değer 1,0’dır.
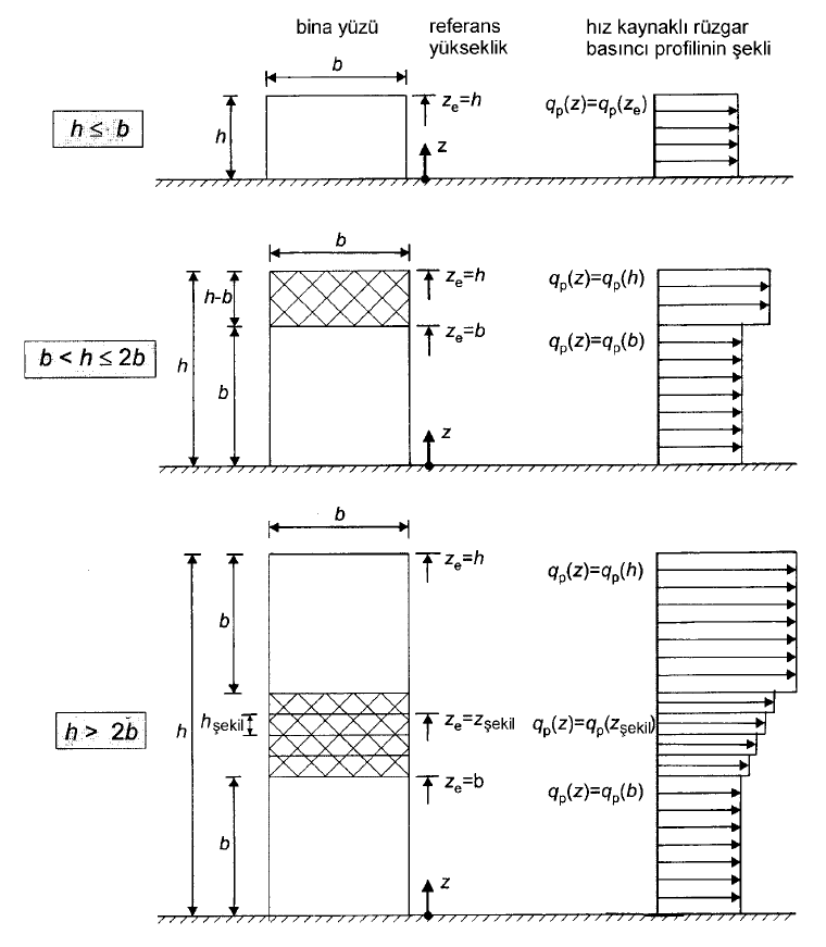
Referans Yükseklik: Yapının yüksekliği ve yapının genişliği değerlerine bağlı olan yükseklik değeri. Yönetmelik kısım 7 de yapı tiplerine bağlı olarak açıklanmıştır.

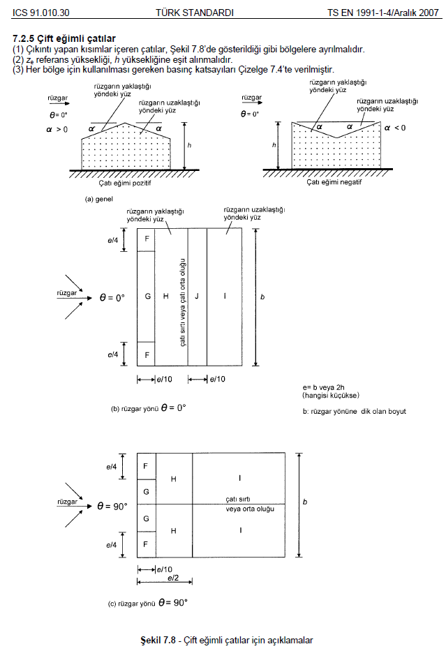
7.2.5 Çift Eğimli Çatılar
(1) Çıkıntı yapan kısımlar içeren çatılar, Şekil 7.8’de gösterildiği gibi bölgelere ayrılmalıdır.
(2) ze referans yüksekliği, h yüksekliğine eşit alınmalıdır.
(3) Her bölge için kullanılması gereken basınç katsayıları Çizelge 7.4’te verilmiştir.

Arazi Kategorisi: Arazi engebeliliğini dikkate alarak engebelilik uzunluğunu ve engebelilik katsayısını belirlemede kullanılan ve yönetmelik Çizelge 4.1 kullanılarak belirlenir.

Türbülans Şiddeti: z metre yükseklikteki türbülans şiddeti, türbülansın standart sapmasının ortalama rüzgar hızına oranı olarak tanımlanmıştır. Arazi katsayısı kr ve esas rüzgar hızı vb ye göre hesaplanır.
Not 2 - Iv(z)'nin hesaplanması için tavsiye edilen işlem Eşitlik (4.7)'de verilmiştir.
Burada;
kı Türbülans katsayısı. Milli Ek’te kı değeri verilebilir. kı için tavsiye edilen değer 1,0’dır.
co Madde 4.3.3’te tarif edilen orografi katsayısı,
z0 Çizelge 4.1’de verilen engebelilik uzunluğudur.
Arazi Engebeliliği: Yapının bulunduğu konuma göre ortalama rüzgar hızı değişkenliğini hesaba katan engebelilik katsayısı ile dikkate alınır.
Not - cr(z)'nin hesaplanma işlemi Milli Ek’te verilebilir. z metre yükseklikteki engebelilik katsayısının
hesaplanması için tavsiye edilen işlem Eşitlik (4.4)'te verilmiştir ve bu eşitlik logaritmik hız profiline
dayanmaktadır.
Burada;
z0 Engebelilik uzunluğu,
kr Aşağıdaki eşitlik kullanılarak hesaplanan, engebelilik uzunluğu z0’a bağlı arazi katsayısıdır.
Burada;
z0,ıı 0,05 (Arazi kategorisi II, Çizelge 4.1)
zen küçük Çizelge 4.1’de tanımlanan en düşük yükseklik
zen büyük 200 m alınmalıdır.
z0 ve zen küçük arazi kategorisine bağlıdır. Tavsiye edilen değerler, Çizelge 4.1’de beş temsili arazi kategorisi için verilmiştir.
Ortalama Rüzgar Hızı: Bir arazide yer seviyesinden z metre yükseklikteki ortalama rüzgar hızı vm(z), o arazinin engebeliliğine, orografik özelliklerine ve esas rüzgar hızı vb ‘ye bağlıdır.
4.3 Ortalama Rüzgar Hızı
4.3.1 Ortalama rüzgar hızı
(1) Bir arazide yer seviyesinden z metre yükseklikteki ortalama rüzgar hızı vm(z), o arazinin engebeliliğine, orografik özelliklerine ve esas rüzgar hızı vb’ye bağlıdır ve Eşitlik (4.3) kullanılarak hesaplanmalıdır.
Burada;
cr(z) Madde 4.3.2’de verilen engebelilik katsayısı,
co(z) Orografi katsayısı (Madde 4.3.3’te aksi belirtilmemişse 1,0 olarak alınmalıdır.) dır.
Not 1 - Milli Ek’te co ile ilgili bilgi verilebilir. Esas rüzgar hızı hesabında orografi dikkate alınırsa tavsiye edilen
değer 1,0’dır.
Not 2 - Milli Ek’te vm(z) için tasarım çizelgeleri ve grafikleri verilebilir.
Tepe Hızı Kaynaklı Rüzgar Basıncı: z metre yükseklikteki, ortalama ve kısa süreli hız değişikliklerini içeren tepe rüzgar basıncı qp(z)
Burada;
ρ Fırtınalar esnasında bölgede olması beklenen sıcaklık ve barometrik basınçlara ve rakama
bağlı olan hava yoğunluğu,
ce(z) Eşitlik (4.9)'da verilen maruz kalma katsayısı
qp Eşitlik (4.10)'da verilen esas hız kaynaklı rüzgar basıncı
Not 2 - ρ için kullanılacak değerler Milli Ek’te verilebilir. Tavsiye edilen değer 1,25 kg/m3.
Not 3 - Eşitlik (4.8)'deki “7” değeri 3,5’e eşit olan tepe katsayısı esas alınarak belirlenmiş olup Kısım 7’deki
basınç ve kuvvet katsayılarıyla da tutarlıdır.
Rüzgar Kuvvetleri
Yapıya Etkiyen Rüzgar Kuvvetleri: Yapının tümü veya yapısal bileşeni için rüzgar kuvvetleri, kuvvet katsayıları ve yüzey basınçları yardımı ile hesaplanır. Yapısal elemanlar için kuvvet katsayıları, yapısal katsayı, yapısal elemanın referans alanı, iç ve dış basınç katsayıları ve sürtünme katsayıları dikkate alınmalıdır. Rüzgar kuvvetleri her yön için ayrı ayrı hesaplanmalıdır.
5.3 Rüzgar Kuvvetleri
(1) Yapının tümü veya bir yapısal bileşeni için rüzgar kuvvetleri şu şekilde belirlenmelidir:
- Kuvvetlerin kuvvet katsayıları kullanarak hesaplanması ile (paragraf 2)
- Kuvvetlerin, yüzey basınçları yardımıyla hesaplanması ile (paragraf 3)
(2) Bir yapıya veya yapının bir bileşenine etkiyen rüzgar kuvveti Fw doğrudan Eşitlik (5.3) kullanılarak belirlenebilir;
veya Eşitlik (5.4) kullanılarak Şekil 7.2.2’de gösterildiği gibi her bir yapısal eleman için vektörel toplama yapılarak hesaplanabilir.
Burada;
cscd Kısım 6’da tanımlanan yapısal katsayı,
cf Kısım 7 veya Kısım 8’de verilen, yapı veya yapısal eleman için kuvvet katsayısı,
qp(ze) ze referans yüksekliğindeki (Kısım 7 veya Kısım 8’de tanımlanmıştır) tepe rüzgar basıncı
(Madde 4.5’te tanımlanmıştır),
Aref Yapının veya yapısal elemanın referans alanı (Kısım 7 veya Kısım 8’de verilmiştir)dır.
Yapıya Etkiyen Rüzgar Kuvvetleri
(3) Bir yapıya veya yapının bir bileşenine etkiyen rüzgar kuvveti Fw, Eşitlikler (5.5) ve (5.6) kullanılarak dış ve iç basınçlardan hesaplanan Fw,e, Fw,i ve Ffr kuvvetleri ile Eşitlik (5.7) kullanılarak hesaplanan dış yüzeylere paralel rüzgar sürtünmelerinden kaynaklanan sürtünme kuvvetlerinin vektörel olarak toplanmasıyla belirlenebilir.
Dış kuvvetler:
İç kuvvetler:
Sürtünme kuvvetleri:
Burada;
cscd Kısım 6’da tanımlanan yapısal katsayı,
we Eşitlik (5.1)'de verilen ze yüksekliğindeki her bir yüzeydeki dış basınç,
wi Eşitlik (5.1)'de verilen zi yüksekliğindeki her bir yüzeydeki iç basınç,
Aref Her bir yüzeyin referans alanı,
cfr Madde 7.5’e göre elde edilen sürtünme katsayısı,
Afr Madde 7.5’te verilen rüzgara paralel dış yüzeylerin alanıdır.
Not 1 - Duvar ve çatı gibi elemanlar için rüzgar kuvveti, dış ve iç bileşke kuvvetler arasındaki farka eşit hale gelir.
Not 2 - Sürtünme kuvvetleri Ffr, rüzgarın dış yüzeylere paralel bileşenleri doğrultusunda etkir.
Basınç Katsayıları: İç ve dış basınç katsayıları, net basınç katsayıları, sürtünme katsayıları, kuvvet katsayıları




İş İskeleleri
Rüzgar Yükleri: TS EN 12811-1 bölüm 6.2.7 de rüzgar yükleri ile ilgili açıklama bulunmaktadır.
6.2.7 Rüzgar Yükleri
6.2.7.1 Genel
Rüzgar yükleri genelde rüzgar esme yönündeki çıkma yapan iş iskelesi kısmındaki referans bir alanda hız nedeniyle oluşan rüzgar basıncı dikkate alınarak hesaplanmalıdır. Rüzgar kuvvetinin bileşkesi F kN biriminde, Eşitlik (2)'den hesaplanır.
Burada;
F Bileşke rüzgar kuvveti,
cf,i i’inci iskele bileşeni için alınacak aerodinamik kuvvet katsayısı (Madde 6.2.7.2),
Ai i’inci iskele bileşenine ait referans alan
qi i’inci iskele bileşeni üzerine etki eden rüzgar basıncı,
cs Konuma bağlı rüzgar etki katsayısıdır.
Kalkan etkileri hesaplarda dikkate alınmamalıdır.
Madde 6.2.7.2 ve Madde 6.2.7.3’te verilenler, sadece ağ veya tabaka ile kapatılmamış iş iskeleleri ile ilgilidir. Kapatılmış iş iskelelerine etkiye rüzgar yükleri Ek A’da verilmiştir.
Aerodinamik kuvvet katsayısı, cf: TS EN 12811-1 bölüm 6.2.7.2 de iş iskelelerine etkiyen rüzgar kuvvetlerini hesaplarken, bazı iş iskelesi bileşenlerine ait enkesitler için TS EN 1991-1-4 ‘te verilen uygun aerodinamik yük katsayısı cf kullanılmalıdır.
7.11 Kafes Yapılar ve İş İskeleleri
(1) Kafes yapılar ve paralel bağ kirişleri olan iş iskeleleri için kuvvet katsayısı cf Eşitlik (7.25) kullanılarak elde edilmelidir.
Burada;
cf,0 Uç tesirleri olmayan kafes yapılar ve iş iskeleleri için kuvvet katsayısı (doluluk oranı φ (Madde
7.11 (2)) ile Reynolds sayısı Re’nin bir fonksiyonu olarak Şekil 7.33 ile Şekil 7.35’te verilmiştir),
Re Eleman çapı bi’nin ortalama değeri kullanılarak hesaplanan Reynolds sayısı (Not 1),
Ψλ I ve genişlik b=d kullanılarak hesaplanan yapı narinliği λ'nın bir fonksiyonu olan uç tesiri
katsayısı (Şekil 7.32’ye bakılmalıdır) dır.
Not 1 - Şekil 7.33 ile Şekil 7.35, olan Reynolds sayısına ve Madde 4.5’te verilen qp’ye bağlıdır.
Not 2 - Hava geçirimsizlik sağlayan tertibatları bulunmayan ve dolu bina kısmı tarafından etkilenen iş
iskeleleri için bir azaltma katsayısı Milli Ek’te verilebilir. Tavsiye edilen azaltma katsayısı değeri
prEN 12811’de verilmiştir.
Doluluk Oranı: Yönetmeliğe göre aşağıdaki formülle bulunur.
(2) Doluluk oranı φ, Eşitlik (7.26)'da tanımlanmıştır.
Burada;
A Düzlem yüzeyde, kafes elemanlarının iz düşüm alanlarının ve bağlantı levhalarının yüzeye dik iz
düşüm alanlarının toplamı : ,
Ac Düzlem yüzeyde bu yüzeye dik iz düşümü sınırlarıyla kapatılan alan (),
I Kafes uzunluğu,
d Kafes genişliği,
bi, li Her bir i kafes elemanının (Şekil 7.32) düzlem yüzeye dik iz düşümlerin genişliği ve uzunluğu,
Agk k bağlantı levhasının alanıdır.
(3) Referans alan Aref, Eşitlik (7.27) kullanılarak belirlenmelidir.

Örnek 1: bx=by=21,6 m , hmaks =6 m , vb = 25 m/s , arazi kategorisi 2

Referans Yükseklik: bx=by=21,6 m , hmaks =6 m olduğundan z = 6 m olarak ele alınacaktır.

Arazi Kategorisi: Arazi kategorisi 2 olduğundan çizelge 4.1 e göre z0 =0,05 m , zen küçük = 2 m
Türbülans şiddeti: Iv(z) = k1/[c0(z)xln(z/z0)] = 1/[1xln(6/0,05) ]= 0,209
Arazi engebelilik katsayısı: kr=0,19 x (z0/z0,2)0,07 = 0,19x(0,05/0,05) 0,07 = 0,19
cr(z) = kr x ln(z/z0) = 0,19 x ln(6/0,05) = 0,910
Ortalama rüzgar hızı: vm(z) = cr(z) x c0(z) x vb = 0,910x1x25 =22,74 m/sn
Tepe hızı kaynaklı rüzgar basıncı: qp(z) = [1+ 7xIv(z)] x 0,5 x ρ x vm2(z) = 0,796 kN/m2
Doluluk Oranı: seçilen profil CHS 127*10, A = 7037832 mm2 , Ac = 73913064,5 mm2 , ϕ= 0,095 tablodan cf,0=1,81


Etkili Narinlik λ ve Uç Tesir Katsayısı ψλ: λ =2 ve ψλ = 0,98

(3) Doluluk oranı φ, (Şekil 7.37) Eşitlik (7.28)'de verilmiştir.
Burada;
A Elemanların iz düşümü alanlarının toplamı,
Ac Toplam yüzey alanı ()dır.


Kuvvet Katsayısı: cf = cf,0 x ψλ = 1,81 x 0,98 =1,77
Etkitilecek Kuvvet: Fw = cscd x cf x qp(z) x Aref = 1 x 1,77 x 0,796= 1,412 kN/m2
Fwçizgisel = 1,412 x 0,127 = 0,179 kN/m
Sonraki Konu